2003年1月7日,欧洲议会和理事会发布2002/96/EC号“关于报废电子电器设备指令”(WEEE1.0)旨在促进废弃电子电气的处理、回收、再利用和再循环,减少废弃物,提高电子电气设备从制造到废弃整个生命周期的环保性。欧盟委员会于2012年7月24日发布欧洲议会和理事会第2012/19/EU号关于报废电子电气设备的改写指令,即WEEE2.0。依据WEEE2.0要求,2018年8月15日开始,WEEE 修订指令将覆盖到几乎所有的电子电气设备。
01 主要更新
WEEE 2.0指令相对于WEEE 1.0指令主要有如下五个方面的变化:
1. 管控的产品范围进一步扩大;
2. 收集目标提高;
3. 分三个阶段调整废弃电子电气产品回收率目标;
4. 明确生产者身份、注册和报告所需信息;
5. 标识要求直接引用EN 50419:2006。
02 管控范围
不同时间段适用的电子电气设备分类不同。
第一阶段: 2012年8月13日到2018年8月14日的过渡期,适用于附件I中规定的十大类产品。
第二阶段:2018年8月15日开始,WEEE 修订指令将覆盖到几乎所有的电子电气设备,适用于附件III列出的重新分类的6大类的电子电气设备,并采取开放式范围,即未列入的产品亦属规范范围,除非列于指令第二条(3)及(4)项目中之排外应用。

03 核心要求
1. 电子电气设备的环保设计应依据ErP指令2009/125/EC的实施措施,为促进WEEE的再使用及回收,产品设计应考虑到整个生命周期。建立生产商责任制,鼓励电子电气设备的设计和生产充分考虑易维修、升级、再使用、拆卸和再循环等因素。
2. 电子电气设备应满足修订指令附件V设定的最小回收目标。

3. 投放欧盟市场的电子电气设备应依据标准EN50419进行垃圾桶回收标识。
4. 生产商或其授权代表须按照要求定期进行注册和信息申报。生产商应为私人家庭及私人家庭以外的使用者产生的废弃电子电气设备收集、处理、回收和环保处理提供资金。
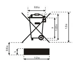
04 标识要求
尺寸:1.5a >5mm
位置:设备上(设备尺寸太小或功能不适用时,印在说明书、保修卡、包装上)清晰、不易撕掉、不卷曲耐久、易读和耐磨

05 常见问题解答
Q1:欧盟WEEE指令垃圾桶标识要求中,对于标识位置有什么特殊要求?
A1:WEEE指令对标识的位置有如下三个方面的要求:
1). 产品的标识必须张贴在明显易见的位置;
2). 对于便携式产品,应不借助工具就可去掉覆盖物看到标识,但是基于其他指令的健康及安全原因需要使用工具打开覆盖物的情形除外;
3). 如因产品大小或功能限制而不能将标识印在产品上,需印在包装、说明书或保修卡上。
Q2:电池是否在WEEE的规管范围?
A2:在废旧电器及电子设备内置的电池应按WEEE指令收集,收集后应从废旧电器及电子设备中拆除,受电池指令的规管并计入指令的回收目标。
捡证网与您分享检测认证行业资讯内容,如有相关业务咨询,请联系我们,电话:13636483412 QQ:495226609